欢迎访问红色壹号华夏酒业官网!

北京红色壹号华夏酒业有限公司

喝红色壹号,品家国情怀

团结拼搏/开拓求实/满足用户/科技进步

全国咨询热线010-68025875
北京红色壹号华夏酒业有限公司

酒文化

 

推荐产品

24小时服务热线 010-68025875

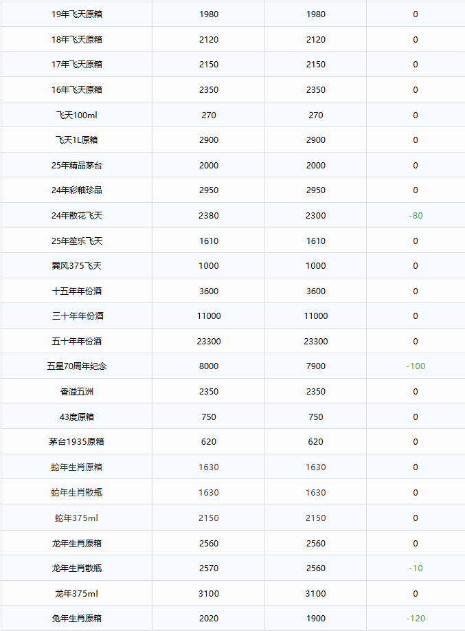
茅台行情

茅台酒12月8日行情价

发布日期:2025-12-08 14:33浏览次数:

茅台走进系列.jpg

双12.jpg



国礼酒瓶装饰.png










人生哪有一帆风顺的,

经历了风风雨雨,彩虹才会出现,

面对不公别宣泄,

一来气坏身体,二来气愤不解决问题。

如果,

对别人多些关爱,就会多点朋友;

如果,

谈话中多点幽默,朋友就会多点快乐。

其实,

心中向阳,何处不是温馨满怀,

只要心中有景,何处不是花香满径







END






喝红色壹号,展家国情怀!更多酒文化和人文文化请关注“红色壹号酒业”官方微博和公众号。








010-68025875
  • 北京红色壹号华夏酒业有限公司

    微信号:hongse191919微信二维码